Тема 13. Асоціативні кресленики
3. Створення креслярських виглядів
На креслення SolidWorks можна вставити практично будь-який вигляд. Таким виглядами є три стандартних вигляду, розріз і місцевий вигляд, проекційний вигляд, допоміжний і ін.
Коли після вставки виглядів знадобиться перемістити їх, можна досить легко здійснити цю операцію, якщо на екрані видно рамка вигляду.
Проекційні вигляди переміщаються тільки уздовж ліній проекції. Для вільного переміщення окремого вигляду слід вибрати <Вировнять / Освободить перемещение видов>.
Перемістіть вигляд в потрібне місце. В цьому ж меню можна відновити прив'язку вигляду до проекцію
Створення допоміжних виглядів
Процедура створення розрізів реалізована у SolidWorks дуже вдало. Перед створенням розрізу слід накреслити так звану лінію перетину (рис.3).
Лінія перетину може складатися з найрізноманітніших комбінацій ліній і дуг, причому можна використовувати не тільки лінії ескізу, але і допоміжні лінії. Розріз може бути по прямій лінії або по будь-якій складній траєкторії.

Рис.3 Розріз, виконаний по ламаній лінії перетину
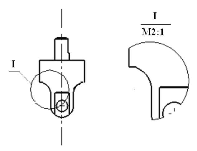
Для створення місцевого вигляду необхідно додати окружність або іншу замкнуту конструкцію. В обох випадках додана конструкція може бути переміщена, а в разі місцевого виду можна також змінити її розміри.
Для створення місцевого вигляду необхідно активізувати вигляд, за яким створюється місцевий вигляд. З контекстного меню вибрати <Чертежные виды/ Местный вид> і відбуксирувати отриманий місцевий вигляд в необхідну область листа креслення (рис.4).

Рис.4. Створення місцевого вигляду
Створення вирваного вигляду аналогічно створенню місцевого вигляду, тільки задається контур вигляду і глибина (або гранична лінійна кромка) вирізу (рис.5).

Рис.5. Створення вирваного вигляду
Роз'єднаний вигляд використовується для відображення компонентів за допомогою видалення його частини зі збереженням решт креслярського вигляду недоторканими. Цей тип вигляду використовується для відображення компонентів, відношення довжини до ширини у яких занадто велике. Це означає, що або довжина занадто велика по відношенню до ширини, або ширина велика по відношенню до довжини.
Роз'єднаний вигляд роз'єднує вигляд по горизонталі або вертикалі, щоб креслярський вигляд помістився в задану область.
Для створення роз'єднаного вигляду спочатку необхідно вказати лінію роз'єднання. Виділіть вигляд, який потрібно роз'єднати, і виберіть команду меню <Вставка/Вертикальная линия разрыва/Горизонтальная линия разрыва> в залежності від напрямку, в якому необхідно роз'єднати компонент. Дві лінії розриву будуть відображені в обраному вигляді (рис.6).

Рис.6. Створення роз'єднаного вигляду
Серед доступних типів ліній є прямі, криві, зигзаг і т. Д. Щоб з'єднати роз'єднаний вигляд, виділіть її та натисніть правою кнопкою миші, щоб вивести на екран контекстне меню. Виберіть команду <Вид без разрыва>. Виділіть вигляд і клацніть правою кнопкою миші, щоб вивести на екран контекстне меню. Виберіть в ньому команду <Вид с разрывом>, щоб знову роз'єднати вигляд. Якщо ви виділите лінії розриву і натиснете клавішу Delete, вигляд з розривом заміниться на вихідний вигляд.
Шрифти
Розмір шрифта
Колір тексту
Колір тла
Кернінг шрифтів
Видимість картинок
Інтервал між літерами
Висота рядка
Виділити посилання
Вирівнювання тексту
Ширина абзацу